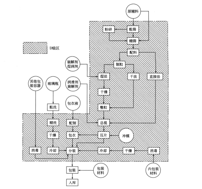
片劑的主要生產工序包括配料、造粒、干燥、整粒與總混、壓片、包衣、分裝、包裝和入庫等,其生產工藝流程及對環境的潔凈等級要求如圖1所示,其中配料、造粒、干燥、整粒與總混、壓片、包衣和分裝等工序應在不低于D級的制藥凈化車間的潔凈環境中進行。

圖1
1、配料 按生產工藝要求,逐一稱取原輔材料,放入混合設備中。稱量前應校對好天平、磅秤,稱量后應及時處理潔凈,并放歸原處。剩余的原輔材料應封嚴存放。
2、造粒 原輔材料全部加入混合設備后,關閉機蓋,啟動開關,攪拌15~30min,中間停兩次,用不銹鋼刮刀翻動攪拌機中的死角,使物料混合均勻
在攪拌機不停的情況下,向已混合均勻的原輔材料中逐漸加入適量的粘合劑,先將其制成軟材,然后再利用搖擺式顆粒機或其他造粒設備將軟材制成濕顆粒。
3、干燥 片劑生產中常采用廂式干燥器對濕粒進行干燥。操作時,首先對干燥室預熱,以縮短干燥時間。干燥過程中應嚴格控制干燥溫度,適宜的干燥溫度視藥物的性質而定。對于熱敏性藥物,干燥溫度應低一些;而耐熱藥物的干燥溫度可以高一些。為防止顆粒糊化或熔化變質,每干燥30~60min應翻動倒盤一次。
放濕顆粒的原則是先上后下,即從最上面的第一層開始,然后依次是第二層、第三層……。而翻動倒盤的原則是先下后上,即先從最底層將干燥盤抽出,翻動濕顆粒,然后依次是倒數第二層、倒數第三層…。
通常將濕顆粒中的含水量干燥至5%左右即可。干燥過程中可用水分快速測定儀經常測試顆粒中的含水量,以判斷濕顆粒被干燥的程度。
4、整粒與總混 將稱重后的顆粒倒入不銹鋼盤內或混合設備中,加入干顆粒質量0.5%~1%的硬脂酸鎂或其他潤滑劑、助流劑、外加崩解劑等,通過手工摻拌或機械混合使潤滑劑等與干顆?;旌暇鶆颉?/span>
利用搖擺式顆粒機對總混后的干顆粒進行整粒。由于干燥后的顆粒體積縮小,故整粒時篩網的孔徑一般比制粒時用的要小一級。整理完畢后,將干顆粒裝入塑料筒中,并放入標簽,旋緊筒蓋,然后轉入下道工序。
若有揮發油或其他揮發性成分,則應將其噴入顆粒中,并密閉30min,使其進入顆粒內。
5、壓片 將顆粒加入料斗中,用手轉動扳手輪,進行試壓調試,直至片面光潔無黑點,片重、硬度合乎要求,崩解時限合格,即可開動機器,進行大批量生產。在壓片過程中,應經常檢查片重,并進行調節,使片重合乎規定。
6、包衣 按工藝要求配制粘合劑及包衣材料,利用包衣設備為制好的片劑包衣。
7、包裝 包裝分內包裝和外包裝,其中內包裝又有瓶包裝、塑料膜包裝和鋁塑包裝三種;外包裝又分中紙盒和大紙箱包裝兩種,即將定量鋁塑板、塑料條和瓶裝入中紙盒內,再將一定數量的中紙盒裝入紙箱中,打包、固定結實即得成品。
8、入庫 按工藝規程將檢驗合格的成品入庫。